永磁筒式磁选机在垃圾焚烧电厂中应用

一、永磁筒式磁选机在垃圾焚烧电厂中应用磁系
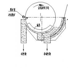
1、采用管式给矿装置,通过溢流板溢流,达到均匀给矿的目的。
2、磁系采用大包角设计达240-270度,多磁极设计,并可根据矿物性质和选矿的指标要求变换磁系结构,达到合理的选矿指标。
3、筒体内设置有磁场搅动装置。
4、采用顺流给矿方式,滚筒逆向旋转,设有多级漂洗水(可根据情况选择性启闭)。
5、卸矿采用聚氨酯刮板两级卸料,确保卸料干净。
6、传动系统采用变频调速。
二、永磁筒式磁选机所选物料
主要是用来对非金属矿去磁或者对金属矿选磁,适用于湿式分选强磁性矿物细颗粒,选矿粒度不得大于3mm。CTB永磁筒式磁选机经常用在磁铁矿、褐铁矿、菱铁矿等金属矿选矿、除铁、磁分离等领域,是钢铁、化工等行业的基础选矿设备。
三、永磁筒式磁选机性能优势
1、在滚筒上设置了双白钢筒皮结构,具有较强的耐磨性和韧性,降低了磨损,延长了使用寿命。
2、永磁筒式磁选机的滚筒密封设置为0形圈密封,并进行了打压实验测试,防止了滚筒进水,同时保证了磁滚筒的正常工作。
3、槽体设计增设了粗颗粒排出孔、排渣孔和清洗水管等附属部件,有效防止槽体沉矿,提高精矿品位。
4、磁选结构的设计采用高性能的永磁体,即使在大流量条件下磁性质也不会丢失。
5、永磁筒式磁选机采用进型减速电机,传动装置采用了精密滚子链轮,体积小,重量轻,方便移动工作。
6、独特的结构设计,不仅保证了矿物在筒体表面的充分翻转,也提高了磁选效率。
7、永磁筒式磁选机的运行可靠平稳,故障率低,操作维修方便。
8、永磁筒式磁选机的处理量非常大,不仅适用于磁铁矿、焙烧矿、钛铁矿等矿物的湿式磁选,同时也应用于建筑、非金属矿、煤等物料的除铁工作。





